當前位置:首頁 > 新聞中心

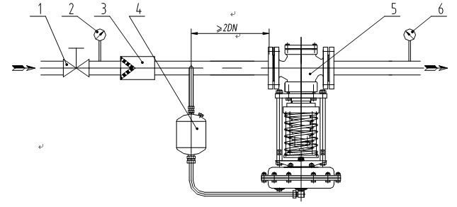
自力式調節閥安裝圖

作者:匹特流體  來源:科姆匹特流體控製技術有限公司  更新時間:2026-03-24 21:40:24  點擊次數:

自力式調節閥安裝圖

自力式調節閥地麵安裝圖

  自力式調節閥的安裝與調試

  一、帶指揮器型調壓原理

  指zhi揮hui器qi操cao作zuo型xing自zi力li式shi壓ya力li調tiao節jie閥fa無wu需xu外wai加jia能neng源yuan,利li用yong被bei調tiao介jie質zhi自zi身shen壓ya力li作zuo為wei動dong力li源yuan,引yin入ru指zhi揮hui器qi以yi控kong製zhi主zhu閥fa的de閥fa芯xin位wei置zhi來lai改gai變bian閥fa門men的de介jie質zhi流liu量liang,使shi閥fa後hou壓ya力li保bao持chi恒heng定ding。介質由閥體上箭頭方向流經閥體,上遊壓力P1經過濾減壓閥進入指揮器B室作為驅動源使用。受控的下遊壓力P2經導壓管傳送到指揮檢測室A,並在此轉換成定位力。當下遊壓力升高或降低時,使指揮器閥芯位移,氣源進入C,使調壓閥趨向開啟或關閉,從而達到減壓、穩壓的目的。

  二、安裝注意事項:

  1、閥門安裝方向與流向一定要保證一致。

  2、閥門使用工藝參數一定要與名牌一致。

  3、管道內要求介質幹淨,無粉塵,堅硬的顆粒。

  三、調試

  1、緩慢打開閥前手動截止閥,並觀察閥後管道壓力表,查看壓力是否在閥門設計值內。(注:瞬間打開閥前控製閥門)

  2、如閥後壓力與設計值一致,無需調試。

  3、如閥後壓力不在工藝值範圍內,首先打開防雨罩,調整蝴蝶螺母。(順時針調節,閥後壓力增大,反之減小。)

  4、如閥門有震蕩或壓力不穩定。先觀察減壓閥壓力,是否在2-2.5kg範圍內。

  5、如不在2-2.5kg範圍內,調節減壓閥使值落在以上範圍內。

  6、如果震蕩,打開限流閥防雨罩,鬆開拚緊螺母,順時針轉動限流閥芯螺杆到底後再逆時針轉動一周,再觀察閥門是否震蕩。

  7、調試完畢後,將拚緊螺母拚緊。

本文鏈接:http://cosco-logisticsqd.com.cn/news/news2017101131.html
上一篇:沒有了!
下一篇:什麼是法蘭式球閥?

推薦文章

電動調節閥是怎麼實現調節的-2020-06-08
自力式壓力調節閥調節方法-2020-05-26
電動調節閥閥門-2020-05-05
氣動調節閥說明書-2020-04-24
氣動調節閥故障分析和處理方法-2020-04-24
自力式調節閥如何調整壓力-2020-04-18
電動調節閥規格型號-2020-04-18
氣動調節閥的結構和原理-2020-04-18